產品介紹
咨詢服務熱線:13957717877
產品概述
資料下載
相關產品
相關資訊


為什么選擇GSP9-C40PV直流浪涌保護器? |
在直流系統中,特別是光伏電站等環境,電氣設備易受雷擊及操作過電壓影響。 GSP9-C40PV 具備較高的放電能力與快速的響應特性,可穩定抑制浪涌沖擊,提升 系統可靠性,減少設備損壞風險。 |
GSP9-C40PV直流浪涌保護器產品優勢: |
1、高放電容量:可承受較大的浪涌電流沖擊; |
2、快速響應:納秒級響應速度,及時限制過電壓; |
3、低壓保護水平:殘壓低,為后端設備提供更有效的保護; |
4、雙熱保護機制:內置雙熱斷路裝置,提升安全性與可靠性; |
5、狀態清晰指示:通過窗口顏色區分工作狀態(綠色正常,紅色故障); |
6、支持遠程信號:可選遠程信號觸點,便于系統監控; |
7、復合保護模式:提供T1+T2組合型浪涌保護,覆蓋直擊雷與感應雷防護。 |
GSP9-C40PV直流浪涌保護器產品特點: |
1、密封模塊結構,放電能力強,響應迅速; |
2、導軌安裝,節省空間,安裝便捷; |
3、雙熱斷路裝置,安全可靠; |
4、窗口顏色指示工作狀態,維護直觀; |
5、可選遠程信號輸出,便于系統集成; |
6、T1+T2兩級防護設計,保護更。 |
GSP9-C40PV直流浪涌保護器產品應用: |
1、光伏發電系統的直流側防雷保護 |
2、光伏匯流箱及直流配電柜 |
4、逆變器直流輸入端保護 |
5、其他直流電源線路的過電壓防護場合 |

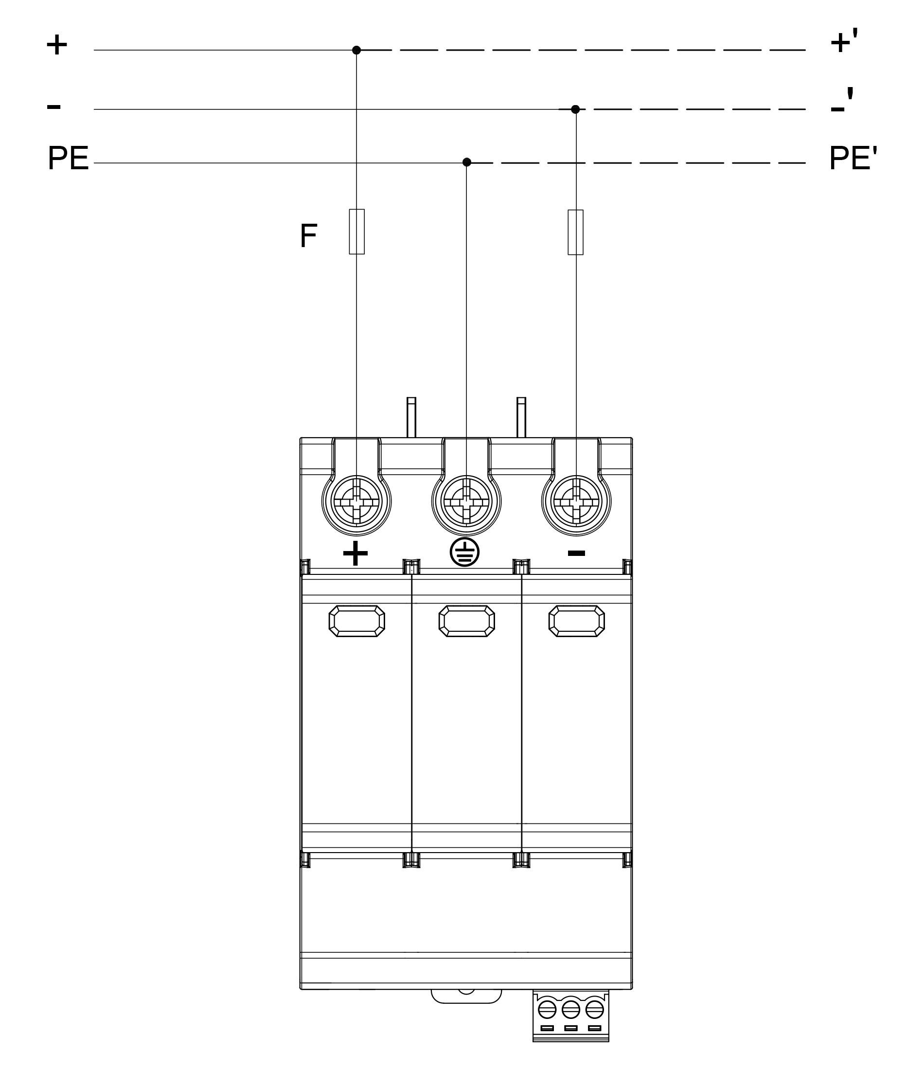
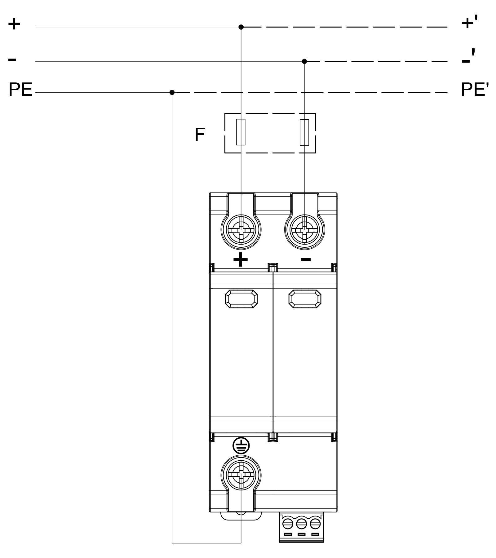
GSP9-C40PV直流浪涌保護器產品接線: | ||
600V / 1000V DC 2P | 600V / 1000V DC 3P | 1500V DC |
| | |
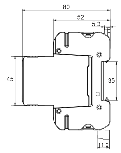
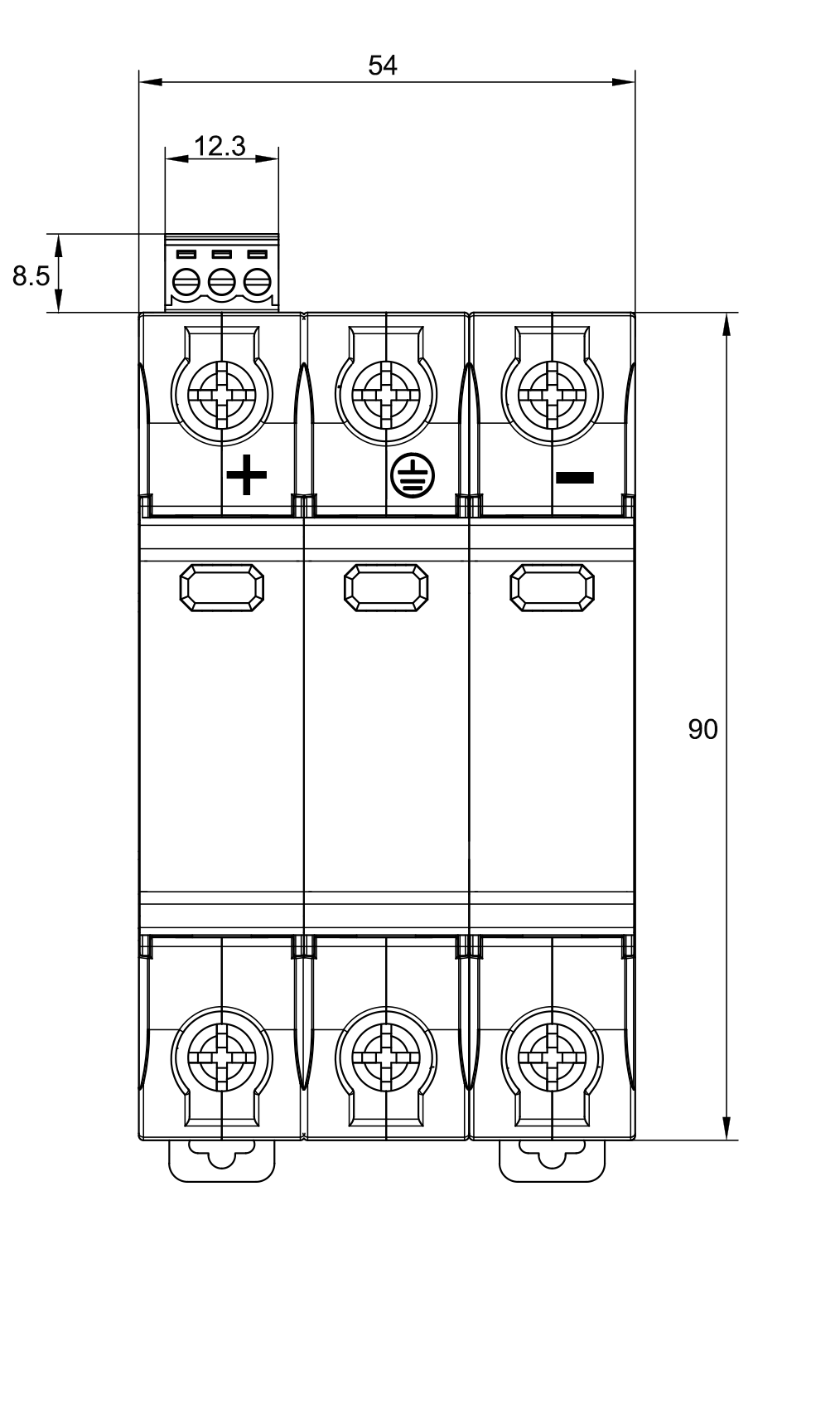
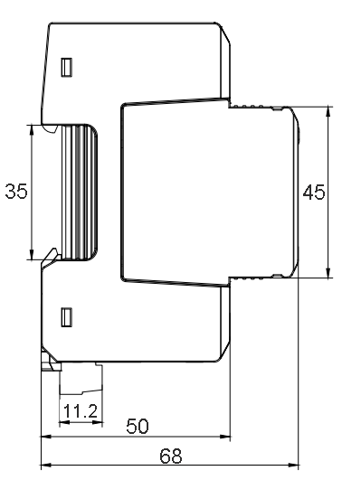
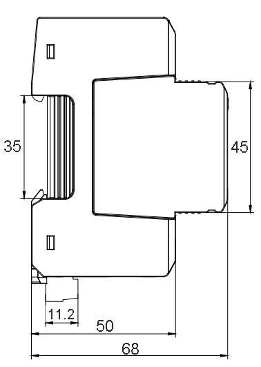
GSP9-C40PV直流浪涌保護器產品尺寸: | ||
600V / 1000V DC 2P | ||
| ![]() | ![]() |
600V / 1000V DC 3P | ||
| ![]() | ![]() |
1500V DC | ||
| ![]() | ![]() |
GSP9-C40PV直流浪涌保護器技術參數: | ||
型號 | GSP9-C40PV | ||
測試標準 | IEC/EN 61643-11;GB18802.11 | ||
SPD類型 | T1+T2 / I+II 級 | ||
Max光伏電壓 | 600V DC | 1000V DC | 1500V DC |
標稱放電電流(8/20μs) | 20kA | ||
Max放電電流(8/20μs) | 40kA | ||
沖擊電流(10/350μs) | 6.25kA | ||
Poles | 2P | 2P/3P | 3P |
光伏電壓保護水平 | 2.6kV | 3.6kV | 5.6kV |
響應時間 | 25ns | ||
連接線規格 | 4mm2(L/N); 6mm2(PE) | ||
安裝方式 | 35mm 導軌安裝 | ||
匹配的熔斷器或斷路器 | 32A | ||
遠程信號觸點類型 | C+NC: 常閉 | ||
C+NO: 常開 | |||
C: 公共觸點 | |||
遠程信號的電壓/電流 | 1A/2A/3A 125V AC | ||
遠程信號接線 | 1.5mm2 max. | ||
工作溫度 | -40°C to +80°C | ||
殼體材料 | UL94-V0防火材料 | ||
優惠券
我們的微信
13957717877
13957796089